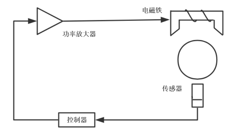
新聞資訊 News 首頁新聞(wen)資訊 新聞資訊 企業新聞 行業新聞 應用案例 技術文章 企業新聞 行業新聞 應用案例 技術文章 2020-02-26 功率放大器在電磁軸承系統中的測試應用 電磁軸承是利用可控的電磁力將轉子無接觸地懸浮起來的一種支承元件,在高速旋轉機械領域有著廣泛的應用,在電磁軸承系統中,功率放大器向電磁鐵線圈提供相應的控制電流以產生所需要的電磁力,對系統的特性具有重要的 2020-02-13 萬眾一心 共同抗“疫” 疫情當前 安泰全員開啟居家辦公模式 相信2020年的春節,每個人都很難忘,新型冠狀病毒感染的肺炎疫情防控和救治工作,牽動了全國人民的心,嚴峻的形式也造成了相當大的影響。全民戰“疫”,攻堅克難!為了配合疫情防控,保護每一位小伙伴的健康安全 2020-02-10 寬頻功率放大器應用——壓電陶瓷驅動器測試研究 ???????壓電陶瓷材料是一種電能與機械能相互轉換的材料,即給壓電材料施加一個機械應力,將會再其表面產生電荷,反之,將外加電場再壓電材料上,壓電材料也會產生機械形變。壓電陶瓷具有體積小,分辨率高,響 2020-02-07 【復工通知】眾志成城 共克時艱 2020-02-03 開工大吉!安泰電子開啟線上服務模式! ?開工大吉!安泰電子開啟線上服務模式! 2020-01-19 【恭賀新春】Aigtek全體員工祝大家2020年鼠年大吉!萬事如意! 鼠年到,好運到。幸福圍你繞,健康對你把手招;平安對你露微笑,吉星把你照;財神牽著你跑,所有好事都來到;西安安泰電子全體員工祝大家在新的一年里平安幸福!萬事如意! 首頁569570571572573574575576577末頁